| SUITBLE FOR |
| GASES |
AIR |
STEAM |
OIL |
WATER |
|
|
|
|
|
|
Salient Features
- Flanged Ends Conforming To DIN 2545 PN 40 Standards
- Straight Pattern With An Outside Screw, Yoke Type, Rising Stem, And Bolted Bonnet
- Renewable Working Components Made From 13% Cr. Stainless Steel (S.S 410)
- Streamlined Body Design Minimizes Internal Pressure Drop
- Operated Via A Hand Wheel
- Includes A Feature For Re-Packing Under Pressure
- Compatible With Thermic Fluid Applications
Technical Data
- Test Pressure (Hydrostatic):
- Shell: 6.0 MPa (60 bar)
- Maximum Working Pressure: 4.0 MPa (40 bar)
- Maximum Working Temperature: 425°C
| MATERIAL LIST |
| P.NO |
Name Of Part |
Material of Constuction |
Specifications |
Qty. |
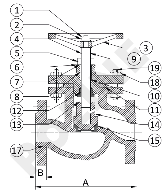
| 1 |
Nut |
Carbon Steel |
- |
1 |
| 2 |
Washer |
Carbon Steel |
- |
1 |
| 3 |
Hand wheel |
S.G Iron |
IS 1865 Gr. 400 / 15 |
1 |
| 4 |
Stem |
Stainless Steel |
ASTM A 276 Type 410 |
1 |
| 5 |
Yoke Bush |
Aluminium Bronze |
BS EN 1982 AB – 1 |
1 |
| 6 |
Locking Screw |
Carbon Steel |
IS 1367 |
1 |
| 7 |
Gland Flange |
Cast Steel |
IBR 73-80 Gr. B |
1 |
| 8 |
Gland |
Stainless Steel |
ASTM A 276 Type 410 |
1 |
| 9 |
Bonnet |
Cast Steel |
IBR 73-80 Gr. B |
1 |
| 10 |
Gland Packing |
Braided Graphite |
- |
- |
| 11 |
Gasket |
Spiral Wound S.S (Type 316) Graphite Filled |
- |
1 |
| 12 |
Back Seat Bush |
Aluminium Bronze |
BS EN 1982 AB – 1 |
1 |
| 13 |
Stem Nut |
Stainless Steel |
ASTM A 276 Type 410 |
1 |
| 14 |
Disc |
Cast Steel |
IBR 73-80 Gr. B |
1 |
| 15 |
Seat Ring |
Stainless Steel |
ASTM A 276 Type 410 / ASTM A 182 Gr. F6a |
1 |
| 16 |
Body Seat Ring |
Stainless Steel |
ASTM A 276 Type 410 / ASTM A 182 Gr. F6a |
1 |
| 17 |
Body |
Cast Steel |
IBR 73-80 Gr. B |
1 |
| 18 |
Nuts |
H.T Steel |
ASTM A 194 Gr. 2H |
As Reqd |
| 19 |
Nuts For Eye Bolts |
H.T Steel |
ASTMA 194 Gr. 2H |
2 |
| 20 |
Eye Bolts |
Stainless Steel |
ASTM A 182 Gr. F6a |
2 |
| 21 |
Pins For Eye Bolts |
Stainless Steel |
ASTM A 276 Type 410 |
2 |
|
SIZE / DIMENSIONS
|
| Size(mm) |
A+1.5 |
B |
OC |
OD+5.0 |
E(MAX.) |
The information provided here serves as guidelines only and is subject to possible modification.