PB-1008

Brass Vertical NRV (Non Return Valve) – Check Valve

PB-1008

Brass Vertical NRV (Non Return Valve) – Check Valve

The Poline brass vertical NRV (non return valve) is designed to allow flow in one direction and automatically prevent reverse flow in piping systems. Manufactured using IS 6912 forged nickel-plated brass, it ensures high strength, corrosion resistance, and reliable performance.

Specifically designed for vertical pipeline installations, this valve is ideal for water, air, and industrial applications where backflow prevention is critical.

Key Features

  • Suitable for vertical pipeline installations
  • Allows one-way flow and prevents reverse flow automatically
  • Disc guided in both body and bonnet for stable operation
  • Forged brass body (IS 6912 FLB) for high strength
  • Nickel-plated finish for corrosion resistance
  • Female threaded ends (BSP / ISO standards)
  • Reliable sealing for leak-proof performance

Applications

  • Water supply and plumbing systems
  • Pump discharge lines
  • Industrial utilities and pipelines
  • Air and fluid systems
  • Vertical piping installations

Technical Specifications

  • Working Pressure : Up to 25 Bar
  • Temperature : -0°C to +100°
 

Why Use Vertical NRV

A vertical non return valve is essential in systems where reverse flow can damage equipment or disrupt operations.

  • Prevents backflow in pipelines
  • Protects pumps and equipment
  • Ensures smooth and controlled flow
  • Reduces maintenance issues

Why Choose Poline NRV

  • Durable forged brass construction
  • Precision-guided disc for smooth operation
  • Long service life with minimal maintenance
  • Suitable for industrial and plumbing applications

FAQ

Q1. What is a vertical NRV?
A vertical NRV is a non return valve designed for vertical pipelines that allows flow in one direction and prevents backflow.

Q2. Where is a brass NRV used?
It is used in water systems, pump lines, and industrial pipelines to prevent reverse flow.

Q3. What is the pressure rating?
This valve is suitable for working pressure up to 25 bar.

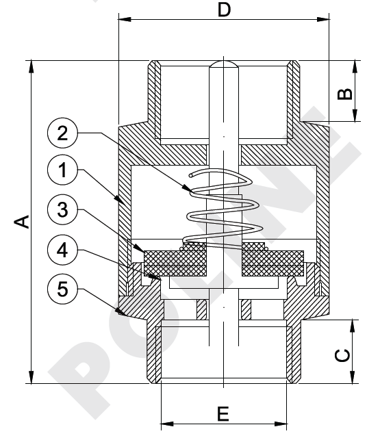
MATERIAL LIST
Part No Part Name Material Specification Qty
1 BODY FORGED BRASS IS 6912:FLB 1
2 SPRING STAINLESS STEEL SS304 1
3 DISC FORGED BRASS IS 6912:FLB 1
4 DISC FACING NITRILE RUBBER IS 638 Type B 1
5 BONNET FORGED BRASS CW617N IS 6912:FLB 1
SUITABLE FOR
GASES AIR STEAM OIL WATER
SIZE DESCRIPTION
Size (inches) Size (mm) A B C D E
1/2" 15 48 10 10 32 19
3/4" 20 50 10 10 38 25
1" 25 55 12 12 42 30
1 1/4" 32 60 12 12 55 40
1 1/2" 40 72 16 16 65 45
2" 50 76 16 16 80 57

 

The information provided here serves as guidelines only and is subject to possible modification.
Whatspp Now For Inquiry
Call Now For Inquiry