PB-1001

Gas Appliance Valve (EN331)

PB-1001

Gas Appliance Valve (EN331)

Salient Features
  • Ball valve are full bore, Quarter turn and knob operated
  • Valve body is made of IS6912: FLB high strength nickel plated brass by hot forging.
  • Suitable to control the flow of fuel gases in any threaded piping system.
  • Screwed Female Ends to IS 554 / BS 21 / ISO 7
  • EN 331:2015 Approved
Technical Data
  • Working Pressure: up to 10 Bar
  • Working Temperature: -20° to+120°
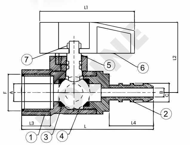
MATERIAL LIST
Part No Part Name Material Specification Qty
1 BODY FORGED BRASS CW617N IS 6912:FLB 1
2 NOZZLE FORGED BRASS CW617N IS 6912:FLB 1
3 SEAT RING PTFE - 2
4 BALL FORGED BRASS (HARD CHROME PLATED) IS 6912:FLB 1
5 SPINDLE FORGED BRASS CW614N IS 6912:FLB 1
6 HANDLE ALUMINUM - 1
7 LOCK NUT BRASS CHROME PLATED - 1
SUITABLE FOR
GASES AIR STEAM OIL WATER
SIZE DESCRIPTION
Size(Inches) DN L A B C F L1 L2 L3 L4
1/4" 8 62.0 8.5 5.0 10.0 13.5 50.0 36.0 10.5 23.5
3/8" 10 62.0 10.5 5.0 10.0 17.0 50.0 38.0 10.5 23.5
1/2" 15 65.0 10.5 5.0 10.0 21.0 50.0 40.0 13.0 23.5

 

The information provided here serves as guidelines only and is subject to possible modification.
Whatspp Now For Inquiry
Call Now For Inquiry